Применен для разделения компоста и навоза по поверхности поля. Метод действия - валкообразователь формирует валок из предварительно разложенных на удобряемом поле куч навоза и компостов, лопасти ротора разбрасывают содержимое валка по поверхности поля. Привод действующих органов реализуется от ВОМ трактора. МАШИНЫ ДЛЯ ВНЕСЕНИЯ ТВЕРДЫХ ОРГАНИЧЕСКИХ УДОБРЕНИЙ Разбрасыватель РУН-15Б распределяет органические удобрения из куч, размещенных на поле рядами в шахматном порядке. РУН-15Б навешивают на гусеничные тракторы тягового класса 3. На механизм передней навески трактора монтируют валко-образователь, задней навески — разбрасыватель. Валко-образователь и разбрасыватель переводят в рабочее и транспортное положение гидроцилиндрами.
Рис. Разбрасыватель РУН-15Б: Для раскладки куч поле предварительно размечают, принимая расстояние между рядами 25...30 м, а между кучами в рядке — L. Таким способом вносят от 15 до 60 т навоза на 1 га. Рабочая скорость агрегата 3...7,5 км/ч.
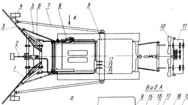
Рис. Общий вид и схема разбрасывателя РУН-15А: а — общий вид; б — схема (вид сверху); 1 — валкообразователь; 2 — толкатель; 3 — разбрасыватель. Сзади трактора на навесном устройстве установлен роторный разбрасыватель, состоящий из двух роторов и двух опорных катков. Роторы приводятся в действие от вала отбора мощности трактора через карданный вал с предохранительной муфтой, одноступенчатый редуктор и две цепные передачи. Роторы вращаются с частотой 267 об/мин и разбрасывают валок удобрений по обеим сторонам трактора. Расстояние между рядами куч должно быть равно ширине разбрасывания удобрений (15— 20 м). Расстояние между кучами в ряду зависит от размеров куч, от нормы внесения удобрений и составляет 30—50 м.
Машины для внесения органических удобрений Рун 15б оснащены специальными механизмами, которые позволяют контролировать количество и вид удобрений, которые будет распределяться на поле. Это позволяет сельскохозяйственным предприятиям точно дозировать удобрения в соответствии с потребностями различных культур. Благодаря такому подходу удобрения распределяются равномерно, что в свою очередь способствует одинаковому росту и развитию растений. Преимущества машин Рун 15б:
Бу навозоразбрасыватели (распределители органики) |




















